Línea directa de servicio:
+86-372-2595077/2595078/2595088
Uso:
Esta serie de productos es un electroimán proporcional de doble extremo a prueba de explosiones de tipo vertido, que se aplica a un entorno químico ambiental que contiene gases explosivos de clase ii, impulsado por una fuente de alimentación DC 12v / 24v, y se utiliza con un amplificador de control proporcional, que actúa conjuntamente sobre la válvula multicanal proporcional sensible a la carga de tipo hawe. Dentro del recorrido nominal y el rango de corriente nominal, su fuerza de salida y desplazamiento son proporcionales a la corriente de entrada, la fuerza de salida es constante durante el recorrido nominal, y la corriente de entrada se ajusta gradualmente dentro del rango nominal, lo que puede lograr la regulación gradual de la velocidad, la inversión y el control remoto del mecanismo de Ejecución del sistema hidráulico dentro del rango nominal.
Principales parámetros técnicos
| Modelo | Dtebl21i | |
| Temperatura ambiente aplicable ( ℃) | - 20 + 40 | |
| Tensión nominal (v) | 20 | 12 |
| Recorrido efectivo (mm) | 1.2 | |
| Recorrido completo (mm) | ≥ 1,7 | |
| Succión nominal (n) | 21 | |
| Anillo de estancamiento de fuerza (%) | ≤ 3 | |
| Estancamiento actual (%) | ≤ 6,5 | |
| Precisión de repetición (%) | ≤ 1 | |
| Corriente nominal (a) | 0.63 | 1.33 |
| Corriente máxima (a) | 0.63 | 1.33 |
| Resistencia nominal 20 ℃ (omega) | 27 | 6 |
| Potencia nominal (w) | 10.7 | 10.7 |
| Potencia máxima (w) | 15 | 15 |
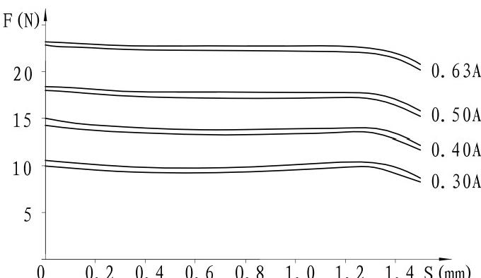
Curva característica de la fuerza de desplazamiento

Forma y tamaño de instalación

Precauciones de uso
● La longitud del cable del electroimán se puede personalizar, y la longitud del cable más común es de 10 metros.
● debe haber un dispositivo de protección contra sobrecorriente entre el sistema de control eléctrico y la parte de conexión del electroimán para evitar quemar el electroimán y sus componentes de control eléctrico en circunstancias anormales.
● el medio de trabajo del sistema hidráulico es aceite mineral y ácido fosfórico.
● El electroimán es un sistema de trabajo continuo.
Descripción de la muestra
● para aplicaciones que excedan los requisitos de esta muestra, pregunte a la empresa.
● La curva característica es solo para referencia.
● Los principales parámetros característicos se obtienen en condiciones de laboratorio. La compañía se reserva el derecho de modificar los parámetros.
Chinese
English
Русский
Español